Published:2009/7/25 1:04:00 Author:Jessie | From:SeekIC


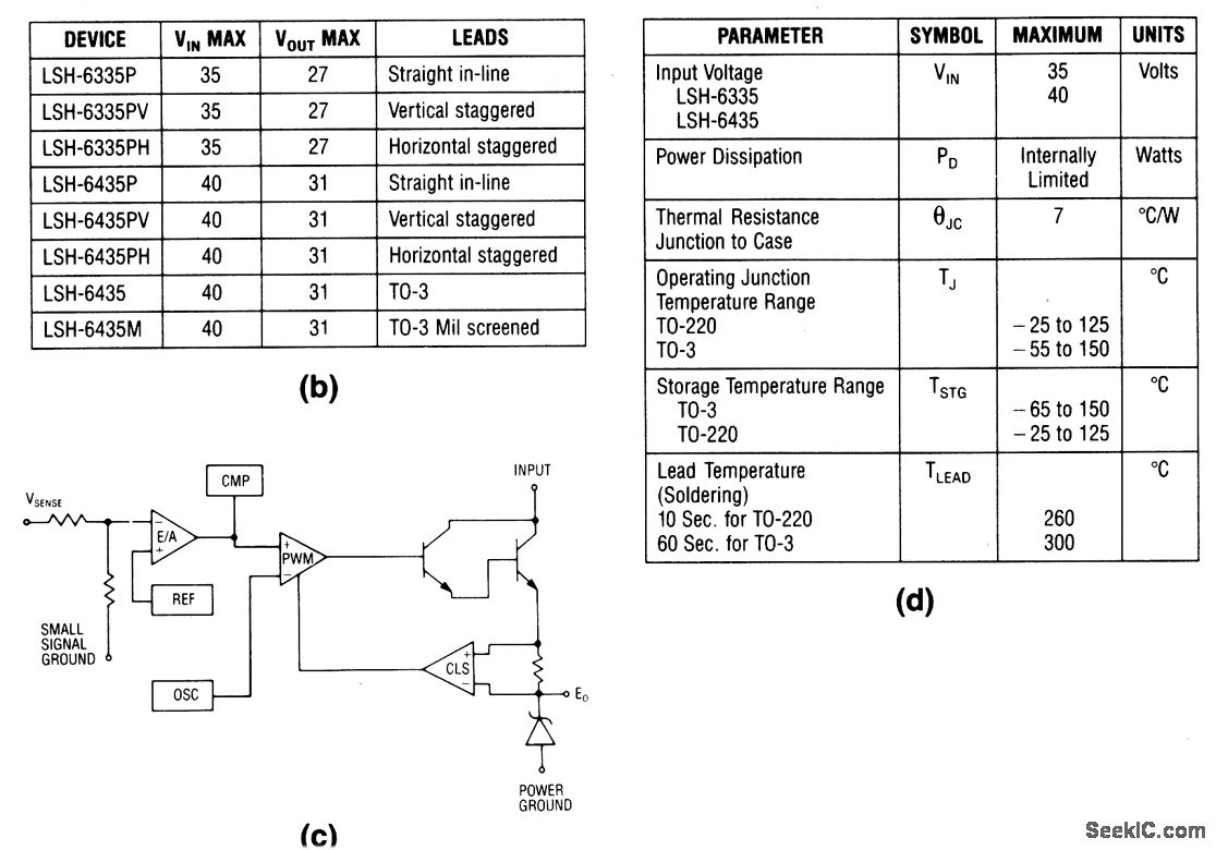
The LSH switching-regulator ICs contain most elements necessary for converter operation, as shown in Fig. 4-4C. Figure 4-4B shows the output voltage and characteristics for various part numbers. Figure 4-4D shows the absolute maximum ratings. Simply add a choke, catch diode, and two capacitors to the IC for a complete converter.
Reprinted Url Of This Article:
http://www.seekic.com/circuit_diagram/Power_Supply_Circuit/3_A_dc_dc_step_dowm_converter.html
Print this Page | Comments | Reading(3)
Code: