Published:2009/7/23 23:24:00 Author:Jessie | From:SeekIC

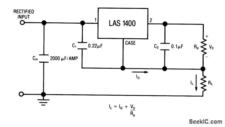
This circuit uses the LAS1400 series voltage regulator (Fig. 7-28A) as a fixed-current regulator. Characteristics are shown in Fig. 7-28B, 7-28C, and 7-28D.
Reprinted Url Of This Article:
http://www.seekic.com/circuit_diagram/Power_Supply_Circuit/3_A_positive_fixed_current_regulator.html
Print this Page | Comments | Reading(3)
Code: