Published:2009/7/24 1:54:00 Author:Jessie | From:SeekIC

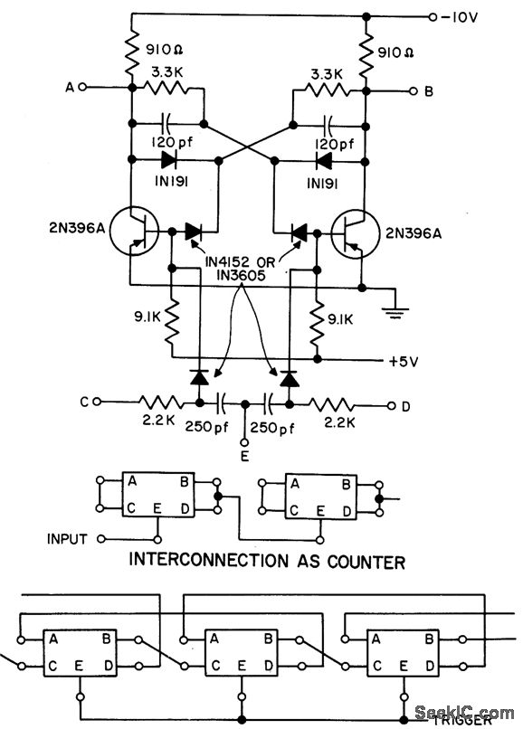
Basic nonsaturated flip-flop, using 52-step design procedure given, serves as building block for 500-kc counter and shift register.- Transistor Manual, Seventh Edition, General Electric Co., 1964, p 190.
Reprinted Url Of This Article:
http://www.seekic.com/circuit_diagram/Power_Supply_Circuit/500_KC_SHIFT_REGISTER.html
Print this Page | Comments | Reading(3)
Code: