Published:2009/7/19 21:21:00 Author:Jessie | From:SeekIC

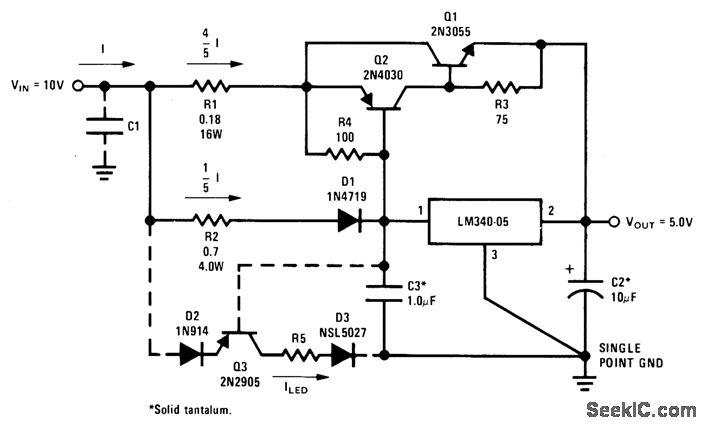
Typical load regulation is 1.8% from no load to full load, Q1 and Q2 serve in place of single higher-cost power PNP boost transistor. Dotted lines show how to add overload indicator using National NSL5027 LED and R2 as overload sensor. When load current exceeds 5A, Q3 turns on and D3 lights. Circuit includes thermal shutdown and short-circuit protection.- Linear Applications, Vol. 2, National Semiconductor, Santa Clara, CA, 1976, AN-103, p 5.
Reprinted Url Of This Article:
http://www.seekic.com/circuit_diagram/Power_Supply_Circuit/5V_AT_5A_FOR_TTL.html
Print this Page | Comments | Reading(3)
Code: