Published:2009/6/28 21:15:00 Author:May | From:SeekIC

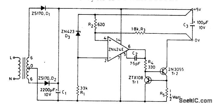
The circuit is essentially a constant source modified by the feedback components R2 and R3 to give a constant voltage output.The output of the ZN424E need only be 2 volts above the negative rail, by placing the load in the collector of the output transistor Tr1. The current circuit is achieved by Tr1 and R5. This simple circuit has the following performance characteristics: Output noise and ripple (full load) = 1 mV rms. Load regulation (0 to 0.5 A) = 0.1%. Temperature coefficient = ± 100 ppm/℃. Current limit = 0.65 A.
Reprinted Url Of This Article:
http://www.seekic.com/circuit_diagram/Power_Supply_Circuit/5_V,05_A_POWER_SUPPLY.html
Print this Page | Comments | Reading(3)
Code: