Published:2009/7/17 1:58:00 Author:Jessie | From:SeekIC

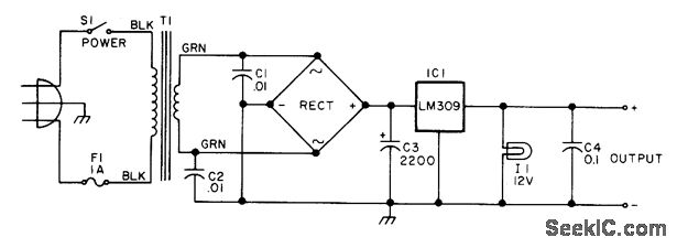
Simple lab supply provides voltage required for digital ICs Rectifier is 6-A 50-PIV bridge. Power transformer has 12.6-V secondary rated 1 A, such as filament transformer. -G. McClellan, Give That Professional Look to Your Home Brew Equipment, 73 Magazine, Feb. 1977, p 28-31.
Reprinted Url Of This Article:
http://www.seekic.com/circuit_diagram/Power_Supply_Circuit/5_V_AT_1_A_1.html
Print this Page | Comments | Reading(3)
Code: