Published:2009/7/21 5:40:00 Author:Jessie | From:SeekIC

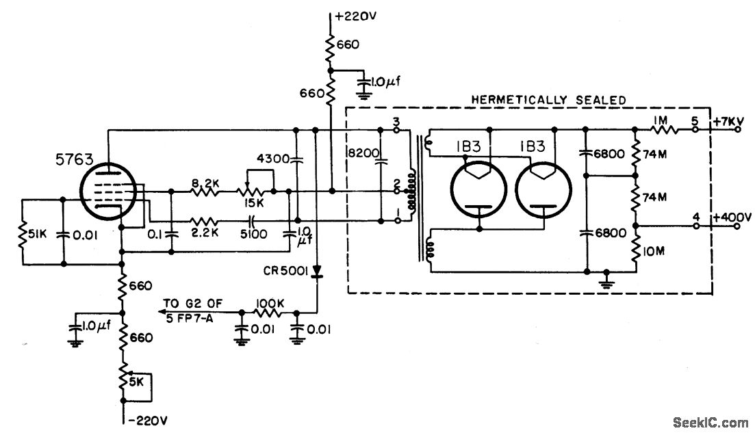
Pentode feeds hermetically sealed unit containing transformer, paralleled 1B3's, and filter.-NBS, Handbook Preferred Circuits Navy Aeronautical Electronic Equipment, Vol. 1, Electron Tube Circuits, 1963, p N14-4.
Reprinted Url Of This Article:
http://www.seekic.com/circuit_diagram/Power_Supply_Circuit/7_KV_A_F_PENTODE_OSCILLATOR_CRT_SUPPLY.html
Print this Page | Comments | Reading(3)
Code: