Published:2009/7/23 23:56:00 Author:Jessie | From:SeekIC

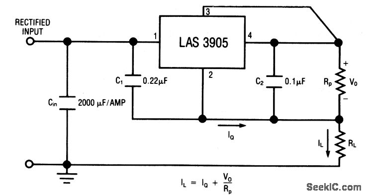
This circuit uses the LAS3905 IC (Fig. 7-50) as a fixed current regulator with remote sensing. Characteristics are shown in Fig.7-50B, 7-50C, and 7-50D.
Reprinted Url Of This Article:
http://www.seekic.com/circuit_diagram/Power_Supply_Circuit/8_A_positive_fixed-current_regulator_with_remote_sensing.html
Print this Page | Comments | Reading(3)
Code: