Published:2009/6/26 3:59:00 Author:May | From:SeekIC

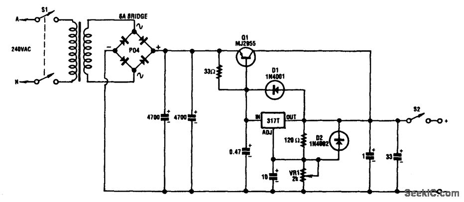
This circuit can deliver 3 A or more and a maximum dc voltage of a little over 20 V. It is designed around the readily available LM317T adjustable 3-terminal regulator and has a pnp power transistor to boost the current output.
The transformer has an 18-V secondary rated at 6 A; this feeds to bridge rectifier and two 4700-μF capacitors to yield around 25 Vdc. This voltage is fed to the emitter of the MJ2955 transistor and to the input of the LM317 via a 33-Ω resistor.
Reprinted Url Of This Article:
http://www.seekic.com/circuit_diagram/Power_Supply_Circuit/ADJUSTABLE_20_V_SUPPLY.html
Print this Page | Comments | Reading(3)
Code: