Published:2009/7/19 22:55:00 Author:Jessie | From:SeekIC

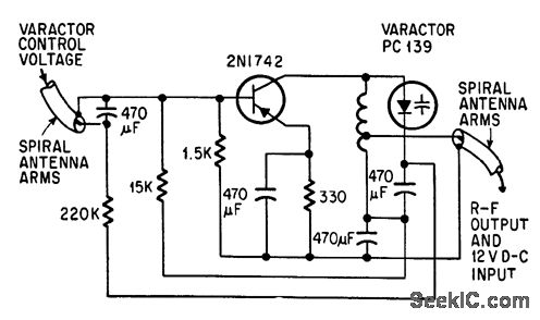
Varactor-tuned transistor amp lifer bulb into tip of conical spiral antenna is tuned from 120 to 240 Mc by varying varactor voltage from 0 to 40 v d-c.-J. F. Rippin, Making the Antenna an Active Part-net, Electronics, 38:16, p 93-96.
Reprinted Url Of This Article:
http://www.seekic.com/circuit_diagram/Power_Supply_Circuit/ANTENNAFIER.html
Print this Page | Comments | Reading(3)
Code: