Published:2009/7/19 21:46:00 Author:Jessie | From:SeekIC

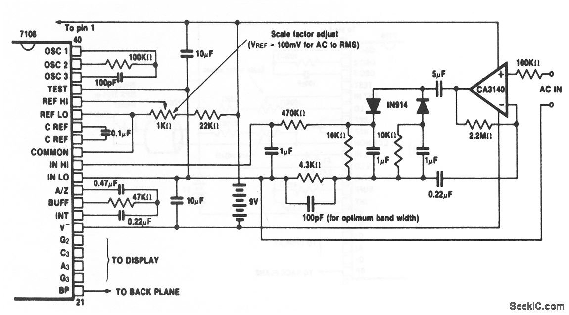
This circuit shows an ICL7106 connected to measure ac voltages, and to display the results on a 3 1/2-digit LCD. Direct connections between the ICL7106 and an LCD display are shown in Fig. 12-11B. Adjust the 1-kΩ potentiometer for the desired scale factor. Harris Semiconductors Data Acquisition, 1991 p 2-40
Reprinted Url Of This Article:
http://www.seekic.com/circuit_diagram/Power_Supply_Circuit/A_D_conversion_and_display_for_ac_signals.html
Print this Page | Comments | Reading(3)
Code: