Published:2009/7/25 1:16:00 Author:Jessie | From:SeekIC

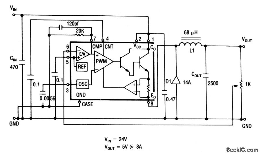
This circuit shows an LAS-6380/6480 used as a step-down converter with an adjustable output.
Reprinted Url Of This Article:
http://www.seekic.com/circuit_diagram/Power_Supply_Circuit/Adjustable_dc_dc_step_down_converter8_A.html
Print this Page | Comments | Reading(3)
Code: