Published:2009/7/25 1:23:00 Author:Jessie | From:SeekIC

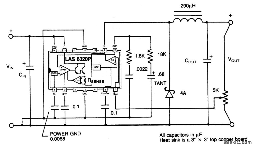
This circuit is similar to that of Fig.4-7,except that this circuit can be operated with inputs of 15 to 25 V.
Reprinted Url Of This Article:
http://www.seekic.com/circuit_diagram/Power_Supply_Circuit/Adjustable_dc_dc_step_down_converter_2A.html
Print this Page | Comments | Reading(3)
Code: