Published:2009/7/25 1:13:00 Author:Jessie | From:SeekIC

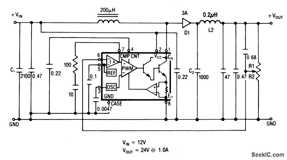
This circuit shows an LAS-6330/6430 used as a step-up converter with an adjustable output.
Reprinted Url Of This Article:
http://www.seekic.com/circuit_diagram/Power_Supply_Circuit/Adjustable_dc_dc_step_up_converter_1_A.html
Print this Page | Comments | Reading(3)
Code: