Published:2009/7/17 4:51:00 Author:Jessie | From:SeekIC

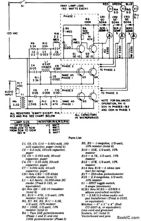
Audio dancing lights with three channels. This circuit uses the audio output from your stereo and separates the high, low and medium frequencies to activate three colored lights. Input sensitivity is controlled by R17 (courtesy General Electric Company).
Reprinted Url Of This Article:
http://www.seekic.com/circuit_diagram/Power_Supply_Circuit/Audio_dancing_lights_with_three_channels.html
Print this Page | Comments | Reading(3)
Code: