Published:2009/7/17 3:42:00 Author:Jessie | From:SeekIC

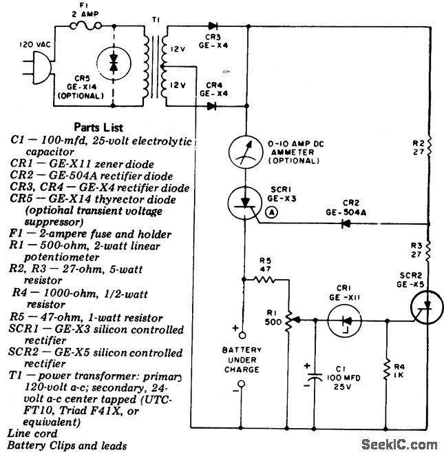
Automotive regulated battery charger. Adjust R1 for a fully charged battery voltage. This inexpensive unit can charge any 12-volt lead-add battery. Should the battery become discharged while the charger is connected the unit will come back on again to recharge the battery (courtesy General Electric Company).
Reprinted Url Of This Article:
http://www.seekic.com/circuit_diagram/Power_Supply_Circuit/Automotive_regulated_battery_charger.html
Print this Page | Comments | Reading(3)
Code: