Published:2009/7/2 3:54:00 Author:May | From:SeekIC

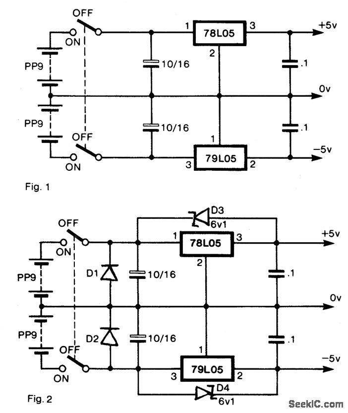
Circuit NotesTo generate regulated ±5-V supplies from a pair of dry batteries, the circuit of Fig.1 is commonly used. In order to give protection from inadvertent reverse connection of a battery, a diode in series with each battery would produce an unacceptable voltage drop. The more effective approach is to fit diodes D1 and D2 as shown in Fig. 2, in parallel with each battery.When the supply is switched off, there is the risk of a reverse bias being applied across the regulators, if there is significant inductance or capacitance in the load circuit.Diodes across the regulators prevent damage. When the power supply is switched on, the two switches do not act in unison. There is a probability that one or the other regulators will be latched hard off by the other. To prevent this, D3 and D4 are Zener diodes so that ±5-V rails are pulled up by the batteries until the regulators establish the correct levels.
Reprinted Url Of This Article:
http://www.seekic.com/circuit_diagram/Power_Supply_Circuit/BIPOLAR_POWER_SUPPLY_FOR_BATTERY_INSTRUMENTS.html
Print this Page | Comments | Reading(3)
Code: