Published:2009/7/24 1:38:00 Author:Jessie | From:SeekIC

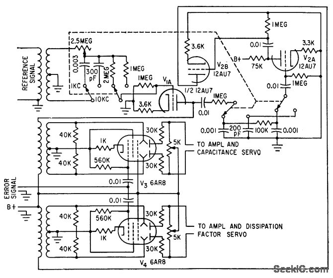
Reference signal from capacitance bridge is transformer-coupled into phase-shifting circuit to compensate for phase shifts in bridge and amplifier used for automatic measurement of dielectric proper ties. Sheet beam tubes V3 and V4 provide gating action for rebalancing servos.-P. G. Frischmann, Measuring Dielectric Properties Automatically, Electronics, 33:32, p 56-57.
Reprinted Url Of This Article:
http://www.seekic.com/circuit_diagram/Power_Supply_Circuit/BRIDGE_BALANCER.html
Print this Page | Comments | Reading(3)
Code: