Published:2009/7/24 22:14:00 Author:Jessie | From:SeekIC

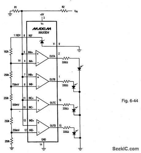
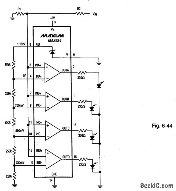
Figure 6-44 shows a MAX934 connected as a simple, four-stage level detector with LED readouts. The full-scale threshold (all LEDs on) is given by VIN=(R1 + R2)/R1 volts. The other thresholds are at 3/4 full-scale, 1/2 full-scale, and 1/4 full-scale. The output resistors limit the current into the LEDs. MAXIM NEW RELEASES DATA BOOK, 1995, P. 3-58.
Reprinted Url Of This Article:
http://www.seekic.com/circuit_diagram/Power_Supply_Circuit/Bar_graph_level_gauge.html
Print this Page | Comments | Reading(3)
Code: