Published:2009/7/24 3:57:00 Author:Jessie | From:SeekIC

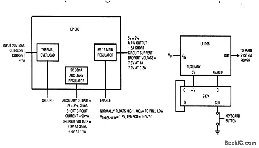
The LT1005 shown here is a multifunction regulator consisting of a 5-V 1-A regulator (controlled by a positive enable signal with a 1.6-V threshold) and a separate 5-V auxiliary regulator. The auxiliary regulator output is unaffected by the main regulator. The LT1005 also includes thermal overload protection and current limiting. The enable pin is a high impedance input which floats in the high state. 10 μA of current pulled from the enable pin shuts down the main output (but not the auxiliary). Figure 9-1B shows a simple, but useful, application. The enable pin is controlled by a toggling flip-flop triggered by a computer keyboard pushbutton. The auxiliary 5-V output powers the FF when the computer is shut down. This eliminates the need for a separate power switch. The enable pin interfaces directly with CMOS or TTL, but the relatively high impedance allows the pin to implement a number of other functions.
Reprinted Url Of This Article:
http://www.seekic.com/circuit_diagram/Power_Supply_Circuit/Basic_multifunction_regulcttor_application_computer_shutdown.html
Print this Page | Comments | Reading(3)
Code: