Published:2011/9/7 6:54:00 Author:Vicky | Keyword: Lead accumulator charger circuit | From:SeekIC

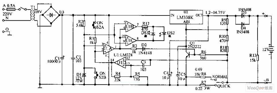
Lead accumulator charger circuit is shown in the above picture. The charger adopts constant voltage type charging. It controls the end of charging by the reduction of the charging current brought by the gradually adequate battery power. There is no need to worry about over-charging or lack of charging. When the power is on, the level of U1A inverting end , pin2, is always lower than the non-inverting input end, pin3. Therefore, pin 1 of U1A outputs high level, which makes Q1 saturate and conducted. It is as effective as the grounding of pin ADJ of U2, and the output of U2 is 1.2V with the charging end of 0.6A. It presents light load under such circumstance, and DS2 green luminous diodes is lighted. When the button S2 is pressed down, pin3 of U1A is grounded, pin2 is connected with the positive pole of the power via R1, then the U1A outputs low level, DS2 red luminous diode is lighted, and DS1 goes out.
Reprinted Url Of This Article:
http://www.seekic.com/circuit_diagram/Power_Supply_Circuit/Battery_Charger/Lead_accumulator_charger_circuit_diagram.html
Print this Page | Comments | Reading(3)
Code: