Published:2009/7/3 4:15:00 Author:May | From:SeekIC

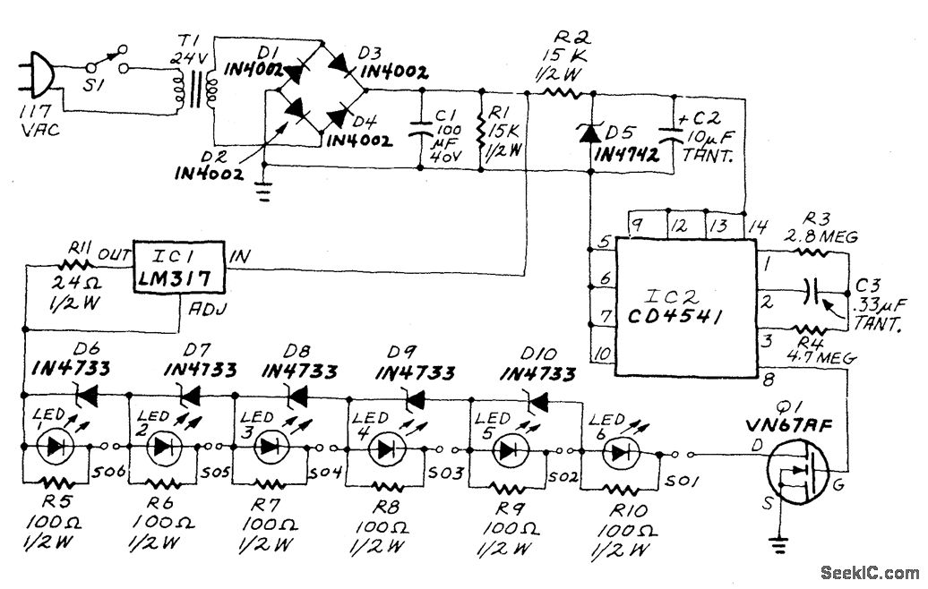
An LM317 voltage regulator is configured as a constant-current source. It is used to supply the 50 mA charging current to S01-S06, an array of AA-cell battery holders. Each of the battery holders is wired in series with an LED and its associated shunt resistor. When the battery holder contains a battery, the LED glows during charging. Each battery holder/LED combination is paralleled by a 5.1-volt Zener diode. If the battery holder is empty, the Zener conducts the current around the holder.A timing circuit prevents overcharging. When power is applied to the circuit, timing is initiated by IC2, a CD4541 oscillator/programmable timer. The output of IC2 is fed to Q1. When that output is high, the transistor is on, and the charging circuit is completed.When the output is low, the transistor is off, and the path to ground is interrupted.
Reprinted Url Of This Article:
http://www.seekic.com/circuit_diagram/Power_Supply_Circuit/Battery_Charger/VERSATILE_BATTERY_CHARGER.html
Print this Page | Comments | Reading(3)
Code: