Published:2009/7/25 1:45:00 Author:Jessie | From:SeekIC


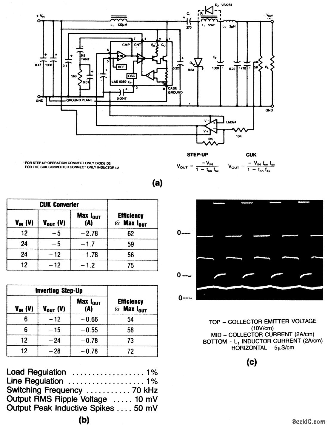
This circuit inverts the output (negative out for positive in) and either steps up or steps down in the input. Typical performance data, switching waveforms, and component source information are given in Figs. 4-34B, 4-34C, and 4-34D, respectively.
Reprinted Url Of This Article:
http://www.seekic.com/circuit_diagram/Power_Supply_Circuit/Boost_or_CUK_inverting_dc_dc_converter.html
Print this Page | Comments | Reading(3)
Code: