Published:2009/6/24 2:28:00 Author:May | From:SeekIC

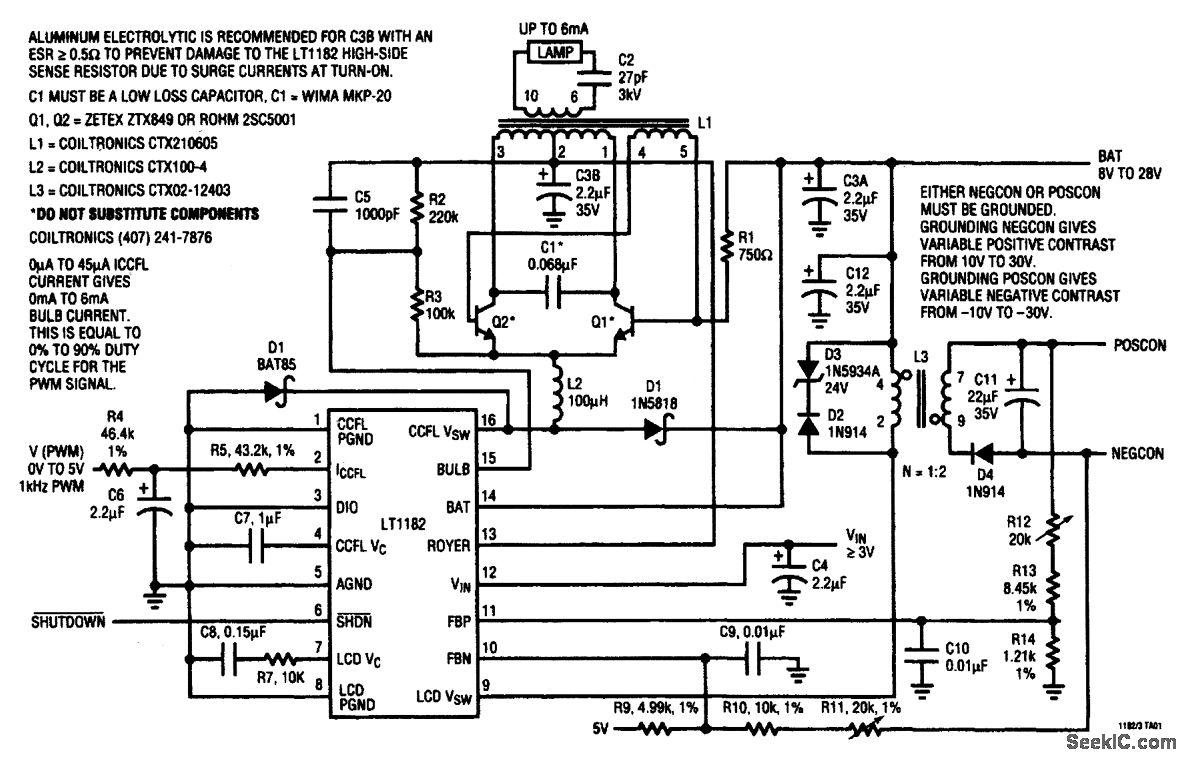
The figure is a complete floating CCFL circuit with variable negative/variable positive-contrast voltage capability, based on the LT1182. Lamp current is programmable from 0 mA to 6 mA using a 0- to 5-V 1-kHz PWM signal at 0% to 90% duty cycle. LCD contrast output voltage polarity is determined by which side of the transformer secondary (either POSCON or NEGCON) the output connector grounds. In either case, LCD contrast output voltage is variable from an absolute value of 10 V to 30 V. The input supply voltage range is 8 V to 28 V. The CCFL converter is optimized for photometric output per watt of input power. CCFL electrical efficiency up to 90% is possible and requires strict attention to detail. LCD contrast efficiency is 82% at full power.
Reprinted Url Of This Article:
http://www.seekic.com/circuit_diagram/Power_Supply_Circuit/CCFL_SUPPLY_WITH_VARIABLE_CONTRAST.html
Print this Page | Comments | Reading(3)
Code: