Published:2009/7/24 5:21:00 Author:Jessie | From:SeekIC

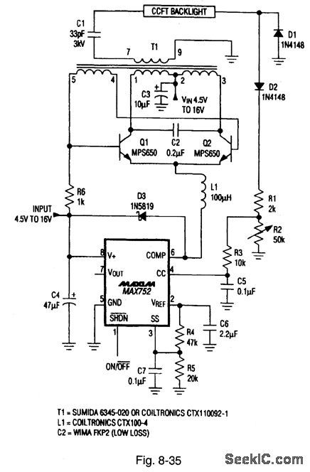
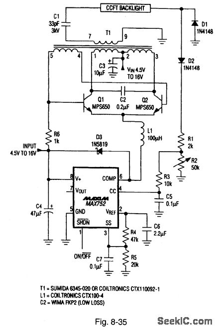
Figure 8-35 shows a MAX752 connected as a power supply for cold-cathode fluorescent tubes (CCFT or CCFL, whichever you prefer). CCFT/CCFLs require high-voltage aqpower, taken from a source that is not part of the main power supply. This is because the supply should be located physically close to the display (to prevent losses resulting from cable capacitance). Typically, the CCFT/CCFLs need about 2 W of 400-Vac power (that must reach near 1200 V upon startup) to arc and turn on the lamp. In this circuit, the MAX752 boost-regulator IC acts as a switching-regulator current source to feed the tail of a traditional Royer-type self-oscillating dc/dc converter. The Royer circuit drives a 33:1 transformer that steps up the battery voltage to ac high voltages (near 1200 V). Capacitance C2 and the primary inductance form a resonant circuit, which provides a low-EMI sine-wave drive signal to the lamp. A half-wave rectified signal proportional to tube current is returned to the MAX752 feedback input. This maintains the CCFT/CCFL current at a constant level. Display brightness is adjusted by R2. MAXIM ENGINEERING JOURNAL, Vot. 3, 1994, P. 51.
Reprinted Url Of This Article:
http://www.seekic.com/circuit_diagram/Power_Supply_Circuit/CCFT_CCFL_backlight_supplies.html
Print this Page | Comments | Reading(3)
Code: