Published:2009/7/16 21:00:00 Author:Jessie | From:SeekIC

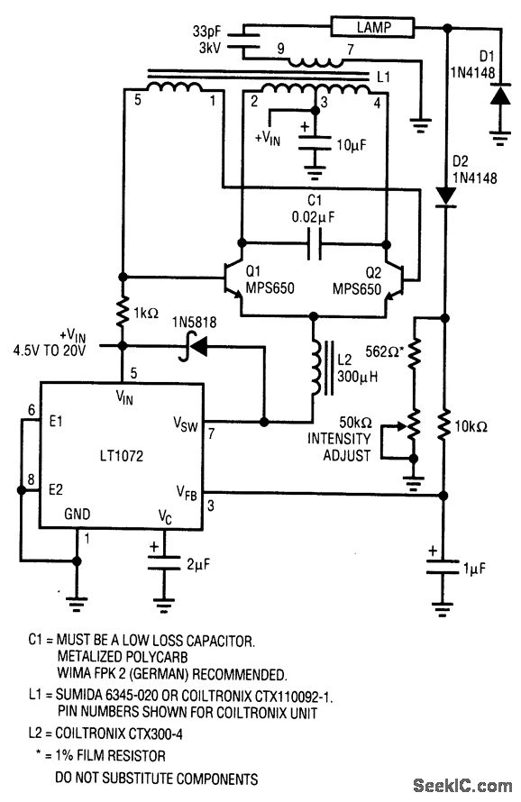
For back-lit LCD displays,this supply will drive a lamp. LT1072 drives Q1 and Q2,and a slne waveappears across C1. L1 is a transformer that steps up this voltage to about 1 400 V D1 and D2 detect lampcurrent and form a feedback loop to the LT1072 to control lamp brightness.
Reprinted Url Of This Article:
http://www.seekic.com/circuit_diagram/Power_Supply_Circuit/COLD_CATHODE_FLUORESCENT_LAMP_SUPPLY.html
Print this Page | Comments | Reading(3)
Code: