Published:2009/6/29 22:56:00 Author:May | From:SeekIC

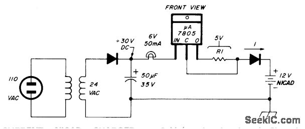
Constant current is obtained from voltage regulator by floating common line and connecting R1 from output to common terminal, Regulator then tries to furnish fixed voltage across R1. Input voltage must be greater than full-charge battery voltage plus 5 V (for 5-V regulator) plus 2 V (overhead voltage). Changing R1 varies charging curent. If R1 is 50 ohms and V is 5 V, constant current is 50 mA through nicad being charged.-G. Hinkle, Constant-Current Battery Charger for Portable Operation, Ham Radio, April 1978, p 34-36.
Reprinted Url Of This Article:
http://www.seekic.com/circuit_diagram/Power_Supply_Circuit/CONSTANT_CURRENT_NICAD_CHARGER.html
Print this Page | Comments | Reading(3)
Code: