Published:2009/7/14 4:48:00 Author:May | From:SeekIC

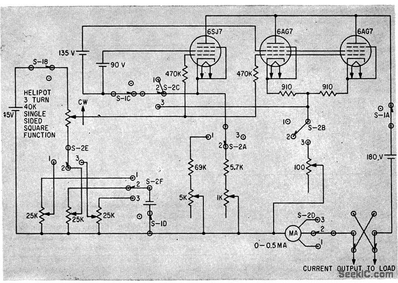
Used to measure resistivity of semiconductors rapidly and accurately. Switch gives choice of 0.5, 5, and 50 ma. Values are read from dial settings rather than meters, to increase accuracy-P. J. Olshefski, Constant. Current Generator Measures Semiconductor Resistance, Electronics, 34:47, p63.
Reprinted Url Of This Article:
http://www.seekic.com/circuit_diagram/Power_Supply_Circuit/CONSTANT_CURRENT_SUPPLY.html
Print this Page | Comments | Reading(3)
Code: