Published:2009/7/8 23:16:00 Author:May | From:SeekIC

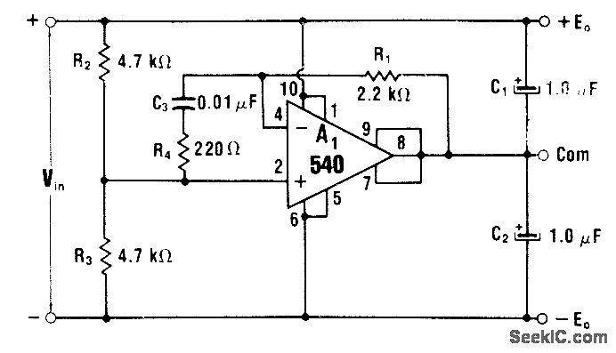
With equal values for R2 and R3, input of 30 V is converted to ±15 V at output. If desired, R2 and R3 can be scaled for unequal voltage drops. Circuit uses 540 power IC having 100-mA rating for each out-put, for handling load imbalances up to 100 mA.-W. G. Jung, IC Op-Amp Cookbook, Howard W. Sams, Indianapolis, IN, 1974, p 170-171.
Reprinted Url Of This Article:
http://www.seekic.com/circuit_diagram/Power_Supply_Circuit/CONVERTING_TO_DUAL_SUPPLY.html
Print this Page | Comments | Reading(3)
Code: