Published:2009/7/23 21:47:00 Author:Jessie | From:SeekIC

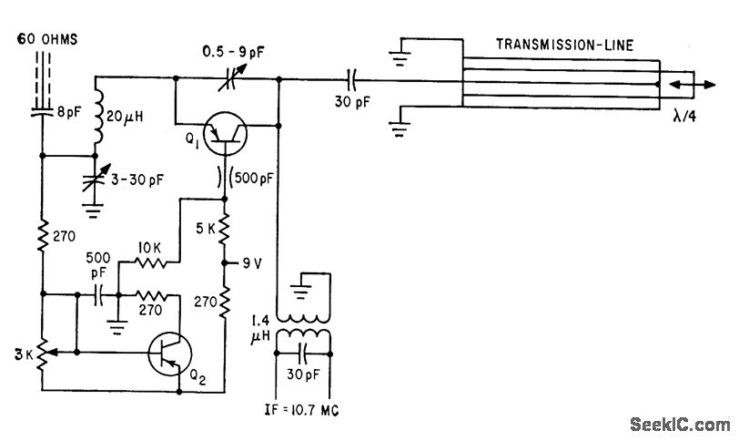
Circuit permits operation of transistors beyond rated frequency limit. Transistor is used as negative-feedback oscillator whose frequency is determined by length of coaxial line. Operation is similar to that of parametric amplifier.-U. L. Rohde, Pushing Transistors Above Their Frequency Limits, Electronics, 35:25, p 46-49.
Reprinted Url Of This Article:
http://www.seekic.com/circuit_diagram/Power_Supply_Circuit/CURRENT_TUNED_UHF_TUNER.html
Print this Page | Comments | Reading(3)
Code: