Published:2009/7/23 23:09:00 Author:Jessie | From:SeekIC

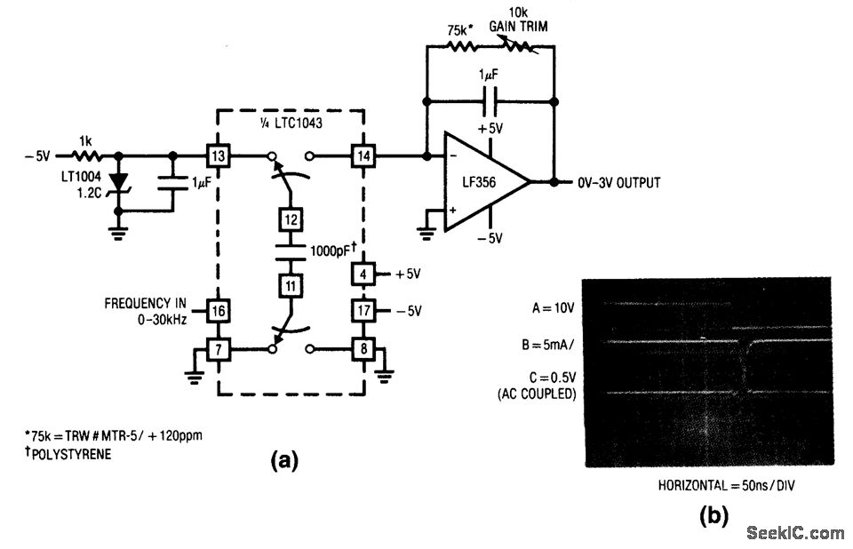
Pig. 12-1 In this circuit, the frequency input is applied to the clock input of an LTC1043 switched-capacitor IC. The 1000-pF capacitor is switched between a fixed voltage and the inverting input of the LF356. The 1-pF feedback capacitor averages this action over several cycles, and the circuit output is a dc level that is linearly related to frequency. The feedback resistors set the LF356 gain. Note that the input pulse width must be low for at least 100 ns to allow complete discharge of the 1000-pF capacitor. To trim, apply 30-kHz to pin 16 of the LTC1043 and set the gain trim for exactly 3.0V. Linear Technology Linear Applications Handbook 1990p.AN3-11.
Reprinted Url Of This Article:
http://www.seekic.com/circuit_diagram/Power_Supply_Circuit/Charge_pump_F_V_converter.html
Print this Page | Comments | Reading(3)
Code: