Published:2009/7/24 5:30:00 Author:Jessie | From:SeekIC

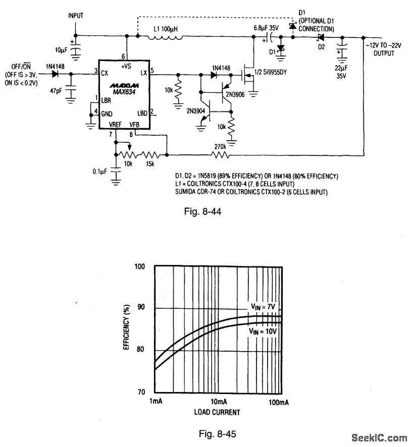
Figure 8-44 shows a MAX634 connected as an LCD-contrast supply using the charge-pump principle for higher efficiency. Figure 8-45 shows the efficiency curves. This circuit is particularly useful where the LCD supply must be operated directly from the battery. (The circuit is a hybrid in that the switching regulator boosts the input to a high positive output voltage, with the actual negative output voltage being generated by a charge-pump tap on the switching node.) The circuit operates over a 4-V to 16-V (four-to eight-cell) range, draws 330 μA of quiescent current, and is capable of a 30-mA output. The optional D1 connection (dotted line) is used when the battery voltage exceeds the absolute value of the output voltage. If this does not occur, connect D1 to ground. MAXIM BATTERY MANAGEMENT CIRCUIT COLLECTION, 1994, P. 49, 50.
Reprinted Url Of This Article:
http://www.seekic.com/circuit_diagram/Power_Supply_Circuit/Charge_pump_LCD_contrast_supply.html
Print this Page | Comments | Reading(3)
Code: