Published:2009/7/24 1:41:00 Author:Jessie | From:SeekIC

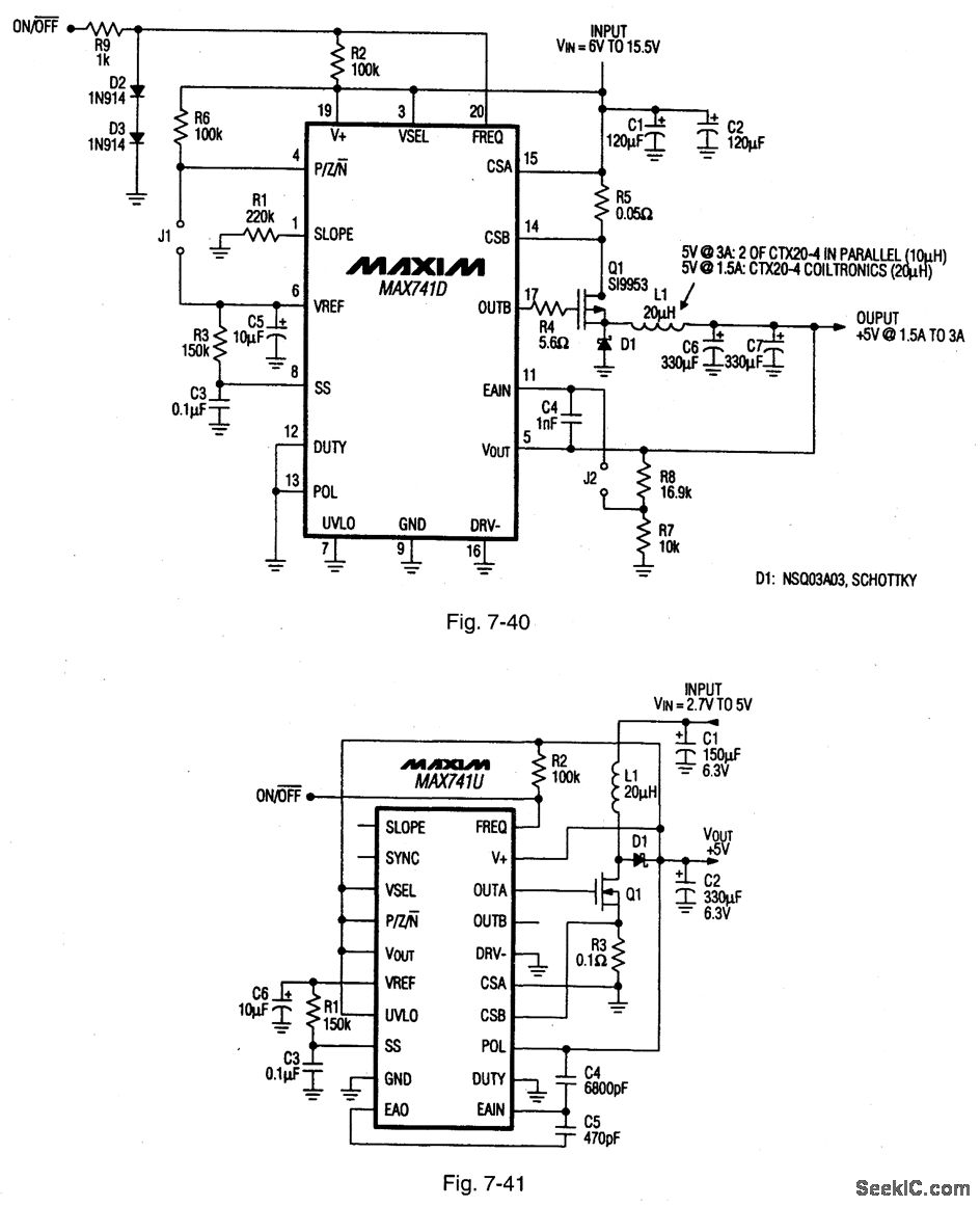
Figure 7-40 shows the MAX741D connected to provide +5 V at 1.5 A or 3.0 A with a 6-V to 15.5-V input. Figure 7-41 shows the MAX741D connected to provide +5 V at 1 A from a +3-V input. Both configurations are SMPS (switch-mode power supplies). The data sheet shows how the MAX741 can be programmed to provide different outputs with supply voltages from 2.7 V. MAXIM NEW RELEASES DATA Book, 1994, P. 4-131.
Reprinted Url Of This Article:
http://www.seekic.com/circuit_diagram/Power_Supply_Circuit/Current_mode_SMPS_controllers.html
Print this Page | Comments | Reading(3)
Code: