Published:2009/7/16 23:42:00 Author:Jessie | From:SeekIC

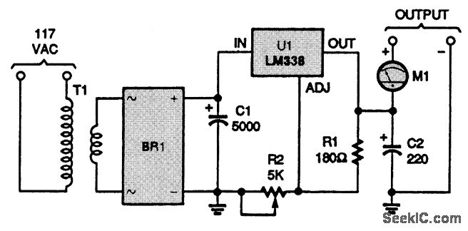
Here's the schematic for The Crusher dc power supply. The outputs are front-panel-mounted banana jacks. T1 is a 24- to 26-V transformer with 1- to 5-A capacity. C1 should be a minimum of 1000 μF per ampere of dc. C2 should be at least 100 μF (or larger). C2 helps maintain good transient response for transients that are too fast for the regulator, and 220 to 470 μF is recommended. BR1 is a 50-V bridge rectifier. U1 must be heatsinked. M1 is an ammeter of 0-5 A or 0-10 A full scale. The output voltage can be adjusted from about 1.2 to 30V via R2. Vout 1.26 (R2 /R1 + 1) volts.
Reprinted Url Of This Article:
http://www.seekic.com/circuit_diagram/Power_Supply_Circuit/DC_POWER_SUPPLY.html
Print this Page | Comments | Reading(3)
Code: