Published:2009/7/16 22:10:00 Author:Jessie | From:SeekIC

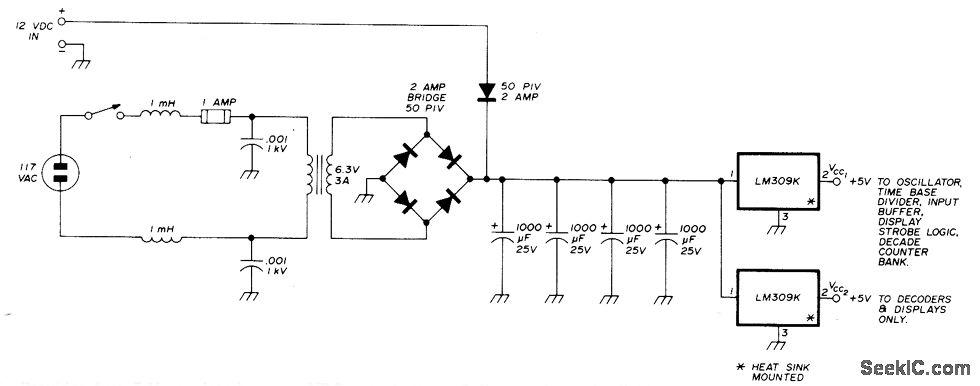
Provides two 5-V regulated supplies for frequency counter, operating either from 9-VDC outputs of AC supply or from 12-VDC auto battery. Splitting of supply divides current demand so regulators operate well below maximum ratings and provide decoupling between sections of load.-J. Pollock, Six Digit 50-MHz Frequency Counter, Ham Radio, Jan. 1976, p 18-22.
Reprinted Url Of This Article:
http://www.seekic.com/circuit_diagram/Power_Supply_Circuit/DUAL_5_V.html
Print this Page | Comments | Reading(3)
Code: