Published:2009/7/24 4:02:00 Author:Jessie | From:SeekIC

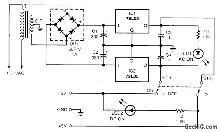
This is a circuit for a simple dual 5-V supply for experimental use. T1 is a 12-V center-tapped 0.3-A transformer.
Reprinted Url Of This Article:
http://www.seekic.com/circuit_diagram/Power_Supply_Circuit/DUAL_5_V_SUPPLY.html
Print this Page | Comments | Reading(3)
Code: