Published:2009/7/21 5:50:00 Author:Jessie | From:SeekIC

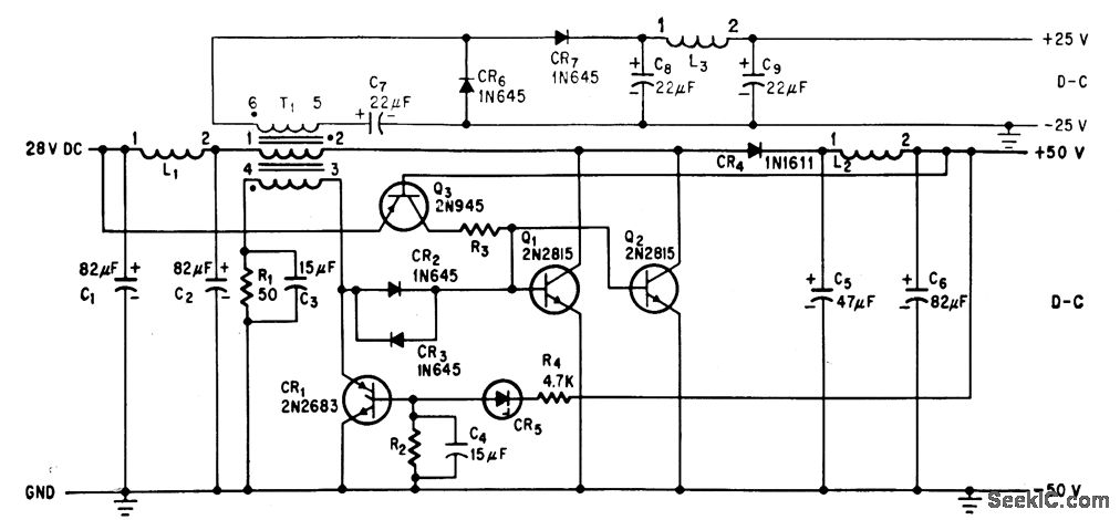
Efficiency is 93% in converting 28 V d-c to 25 and 50 V d-c for telemetry transmitter. Regulation is achieved by storing energy in magnetic field of coil during half of each switching cycle created by transistors Q1 and Q2 after Q3 initiates switching cycle. SCR CR1 and diode CR5 control percentage of time switching transistors are on.-N. Downs and B. van Sutphin, Solid-State Transmitter Ready for UHF Telemetry, Electronics, 37:17, p 76-80.
Reprinted Url Of This Article:
http://www.seekic.com/circuit_diagram/Power_Supply_Circuit/D_C_D_C_REGULATED_SUPPLY.html
Print this Page | Comments | Reading(3)
Code: