Published:2009/7/24 20:44:00 Author:Jessie | From:SeekIC

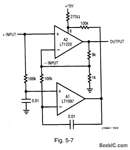
Figure 5-7 is similar to Fig. 5-6, except that the sensing is done differentially, preserving access to both fast amplifier inputs. The combined characteristics of these amplifiers yields the following performance: 50-μV offset voltage, 1-μV/℃ offset drift, 250-V/μs slew rate, and 45-MHz gain bandwidth. LINEAR TECHNOLOGY, APPLICATION NOTE 47, P. 34.
Reprinted Url Of This Article:
http://www.seekic.com/circuit_diagram/Power_Supply_Circuit/Dc_stabilization_using_differential_sensing.html
Print this Page | Comments | Reading(3)
Code: