Published:2009/7/24 20:45:00 Author:Jessie | From:SeekIC

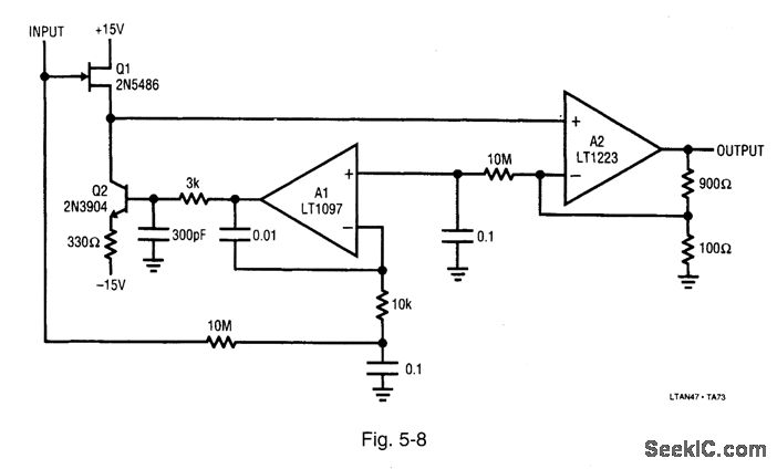
Figure 5-8 shows a dc-stabilized, wideband amplifier using a FET input for high input impedance. Input capacitance is about 3 pF, the bandwidth is 100 MHz, and the gain is 10 (using the feedback values shown). A1 stabilizes the circuit by controlling the Q1 channel current through feedback. LINEAR TECHNOLOGY, APPLICATION NOTE 47, P. 34.
Reprinted Url Of This Article:
http://www.seekic.com/circuit_diagram/Power_Supply_Circuit/Dc_stabilization_with_high_input_impedance_.html
Print this Page | Comments | Reading(3)
Code: