Published:2009/7/19 21:44:00 Author:Jessie | From:SeekIC

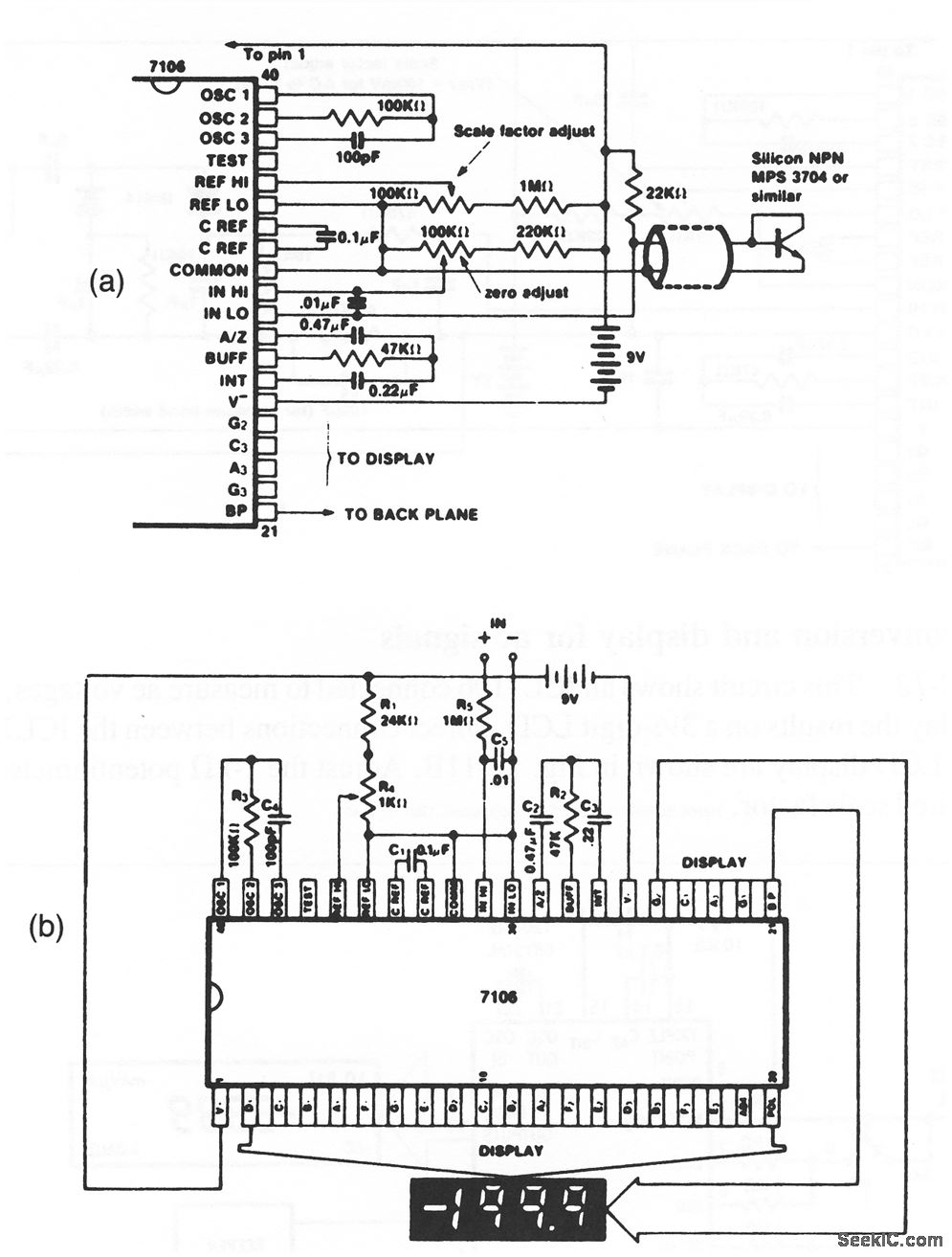
This circuit shows an ICL7106 connected with a silicon transistor to form a digital thermometer. Direct connections between the ICL7106 and an LCD display are shown in Fig. 12-11B. A diode-connected silicon transistor has a temperature coefficient of about -2 mV/℃. To achieve calibration, place the sensing transistor in ice water and adjust the zeroing potentiometer for a 000.0 reading. Then, place the sensor in boiling water and adjust the scale-factor potentiometer for a 100.0 reading. Bards Semiconductors Data Acquisition, 1991 p 2-32, 2 39
Reprinted Url Of This Article:
http://www.seekic.com/circuit_diagram/Power_Supply_Circuit/Digital_centigrade_thermometer.html
Print this Page | Comments | Reading(3)
Code: