Published:2009/7/23 22:56:00 Author:Jessie | From:SeekIC

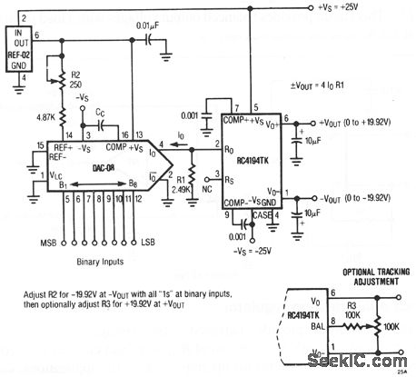
This circuit provides balanced output voltages that can be set by binary inputs applied to the DAC. Outputs vary between 0 and± 19.92 V at loads of ±200 mA.
Reprinted Url Of This Article:
http://www.seekic.com/circuit_diagram/Power_Supply_Circuit/Digitally_controlled_dual_tracking_regulator.html
Print this Page | Comments | Reading(3)
Code: