Published:2009/7/24 23:04:00 Author:Jessie | From:SeekIC

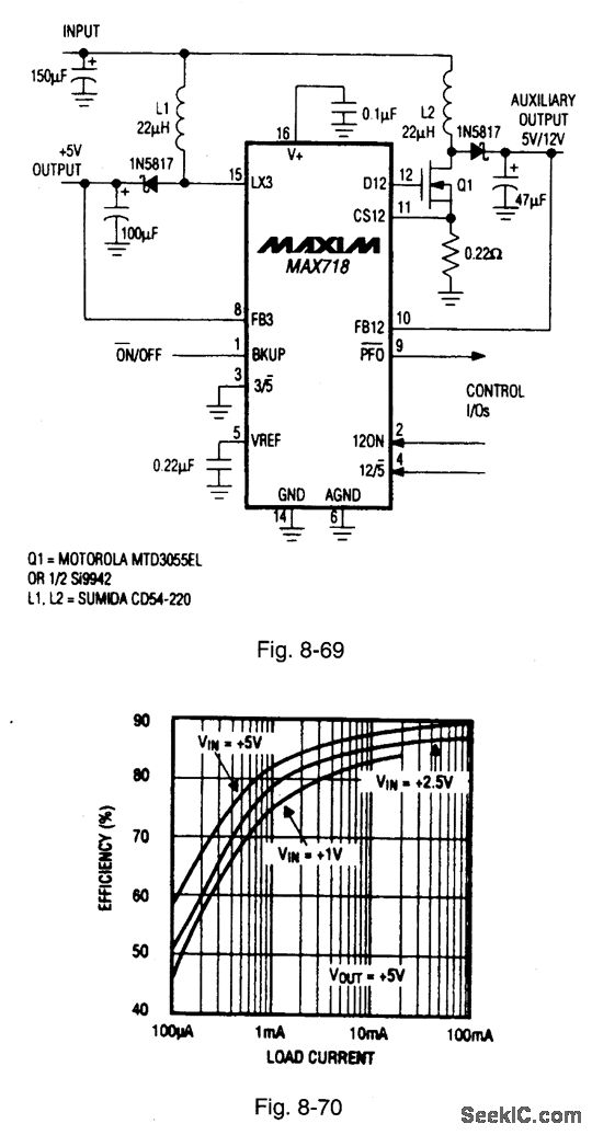
Figure 8-69 shows a MAX718 controller connected to provide 5 V and 12 V from a 3.3-V supply. Figure 8-70 shows the efficiency curves. This circuit is designed for those applications that require a 3.3-V to 5-V converter to supply power for peripheral equipment, and a +12-V supply for flash-memory programming. The circuit delivers 5 V at 400 mA, and 12 V at 120 mA when powered from a 3.3-V (±10%) supply. The 12-V output can be programmed to 5 V, under logic control without external switches or pullup. The input voltage is 0.9 V to VOUT with 1.4-V no-load start-up. Quiescent current is 140 μA for 5 V, and 500 μA for both 5 V and 12 V. The switching frequency is 0.5 MHz. MAXIM BATTERY MANAGEMENT CIRCUIT COLLECTION, 1994, P. 42.
Reprinted Url Of This Article:
http://www.seekic.com/circuit_diagram/Power_Supply_Circuit/Dual_35_V_to_5_V_12_V_supply.html
Print this Page | Comments | Reading(3)
Code: