Published:2009/7/2 2:21:00 Author:May | From:SeekIC

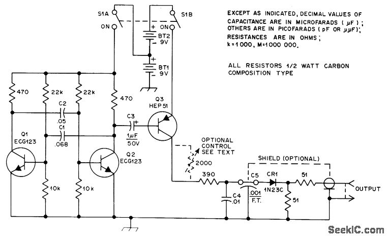
Develops about 18 dB of excess noise in region of 50-300 MHz for optimizing converter or receiver for best noise figure. Can also be used for noise optimizing of TV receivers and for peaking UHF TVfront ends. Q1 and Q2 form cross-coupled 7OO-CR1 MVBR. C1 is greater than C2 to favor conduction of Q2. When Q2 is on, Q3 turns on and makes current flow through broadband noisediode CR1. Diode is forward-biased because available gating voltage does not generate enough noise in reversebias mode. If noise output is too great, insert 20000-ohm attenuator as shown.-T. E. Hartson, A Gated Noise Source, QST, Jan. 1977. p 22-23.
Reprinted Url Of This Article:
http://www.seekic.com/circuit_diagram/Power_Supply_Circuit/EXCESS_NOISE_SOURCE.html
Print this Page | Comments | Reading(3)
Code: