Published:2009/6/24 1:34:00 Author:Jessie | From:SeekIC

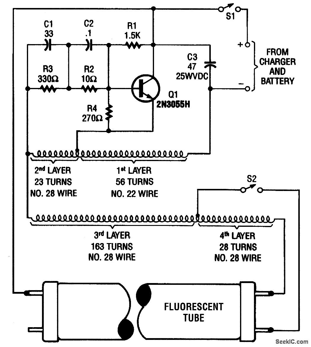
This high-voltage power supply can operate fluorescent tubes from a 12-V source, even if the tube has a defective filament. It essentially is an oscillator that excites a home-made autotransformer. T1 is wound on a ferrite rod 5/16 diameter by 1 7/8 long, in layers. S2 is an optional lamp filament switch.
Reprinted Url Of This Article:
http://www.seekic.com/circuit_diagram/Power_Supply_Circuit/FLUORESCENT_LAMP_12_V_SUPPLY.html
Print this Page | Comments | Reading(3)
Code: