Published:2009/7/24 2:38:00 Author:Jessie | From:SeekIC

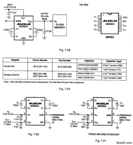
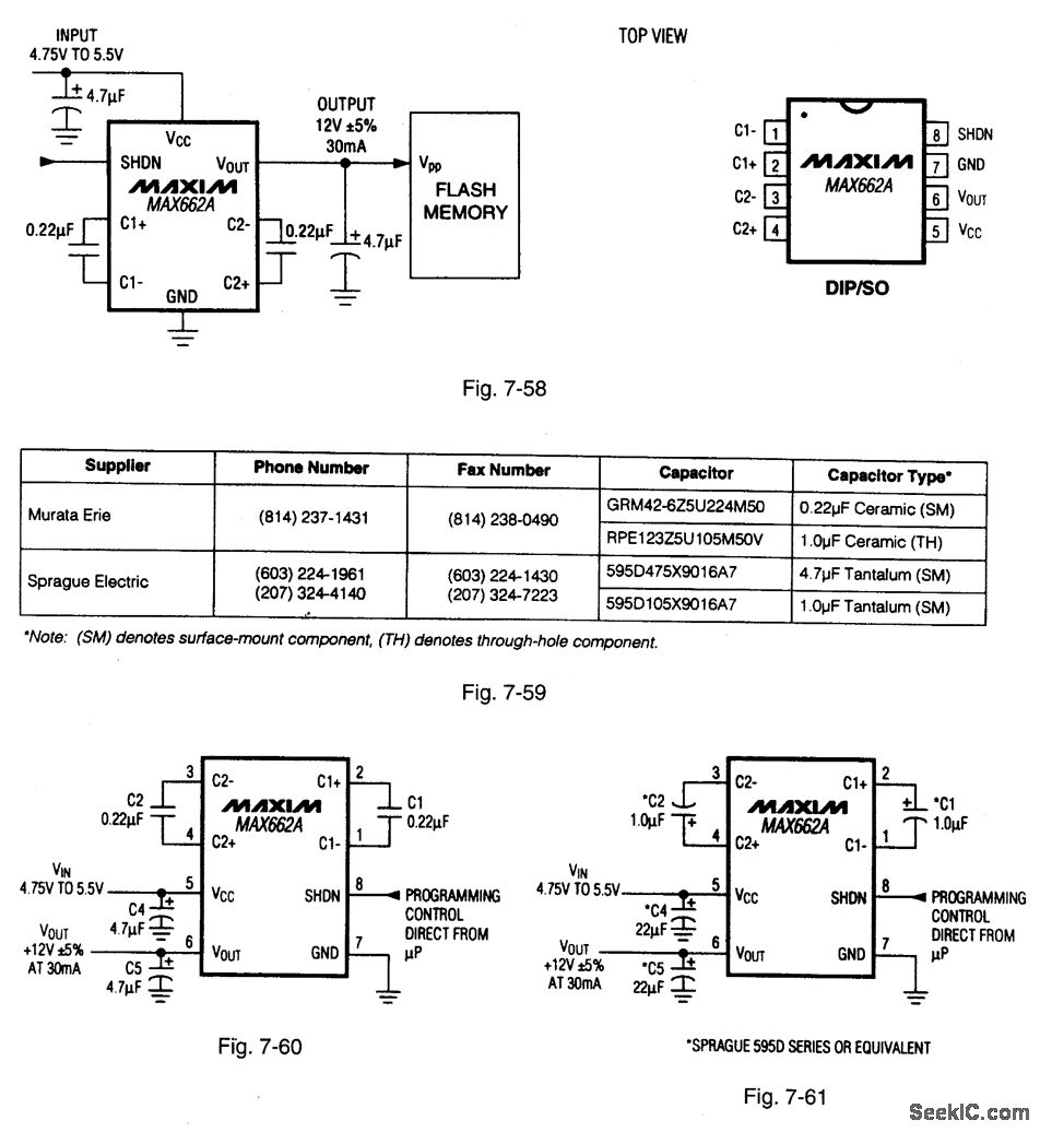
Figure 7-58 shows a MAX662A connected to provide a +12-V, 30-mA output for programming byte-wide flash memories. Figure 7-59 shows component suppliers. Figures 7-60 and 7-61 show connections for programming commercial-temperature range, and extended /military-range applications, respectively. Quiescent current is 185 μA, with 0.5-μA shutdown current. The IC has a logic-controlled shutdown pin that allows direct microprocessor control. MAXIM NEW RELEASES DATA BOOk, 1995, P. 4-75, 4-79.
Reprinted Url Of This Article:
http://www.seekic.com/circuit_diagram/Power_Supply_Circuit/Flash_memory_programming_supply_30_mA.html
Print this Page | Comments | Reading(3)
Code: