Published:2009/7/23 22:57:00 Author:Jessie | From:SeekIC

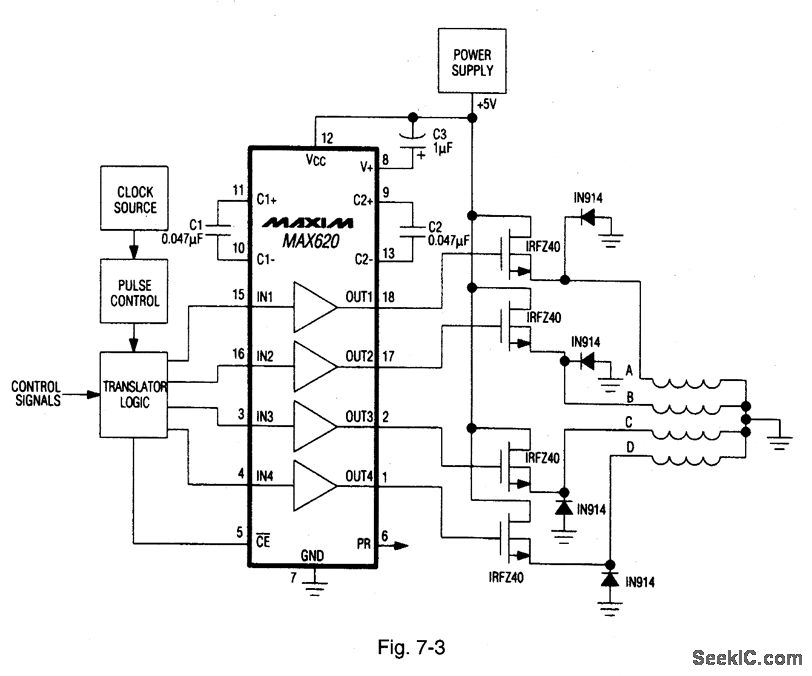
Figure 7-3 shows a MAX620 connected to form a complete stepper-motor drive. TTL/CMOS signals from the logic network are translated to high-side levels that drive four N-channel power MOSFETs, supplying current to each of four stepper-motor phases. The diodes provide a discharge current path for the stepper-motor windings. MAXIM NEW RELEASES DATA BOOk, 1992, P. 4-28.
Reprinted Url Of This Article:
http://www.seekic.com/circuit_diagram/Power_Supply_Circuit/Four_phase_stepper_motor_drive_system.html
Print this Page | Comments | Reading(3)
Code: