Published:2009/7/24 5:22:00 Author:Jessie | From:SeekIC

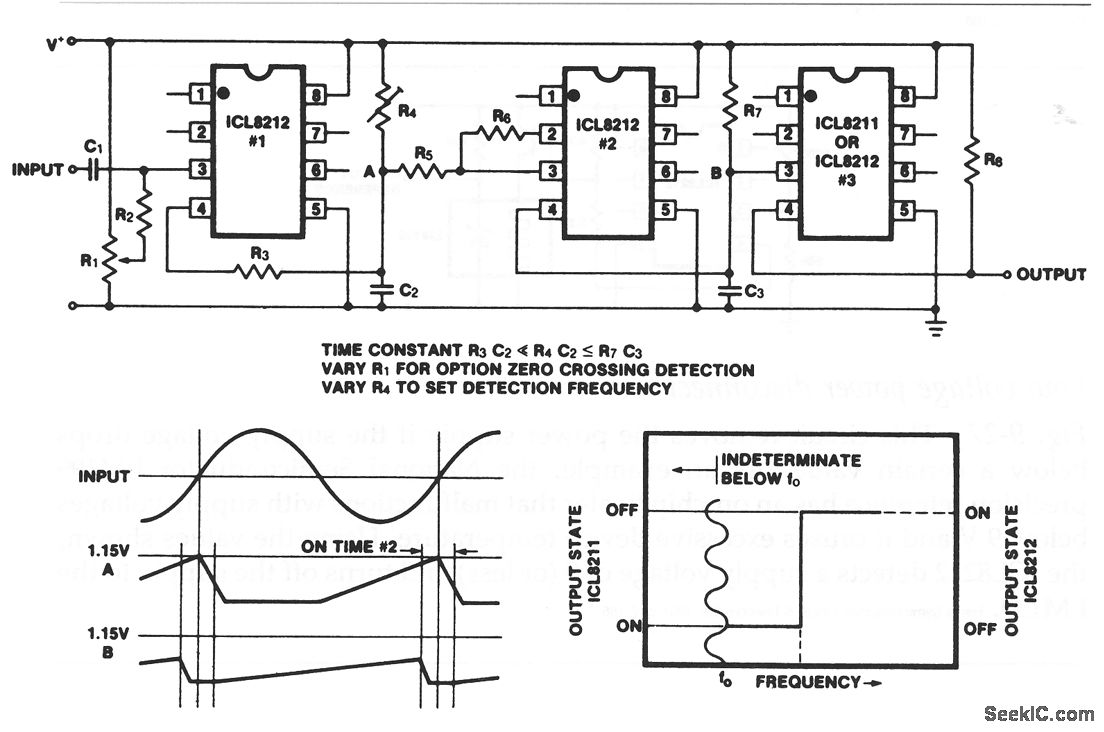
The first ICL8212 is used as a zero-crossing detector. The output circuit (R3, R4, C2) produces a slow positive ramp, where the negative range is much faster than the positive range, as shown. R5 and R6 provide hysteresis so that under all circumstances the second ICL8212 is turned on for sufficient time to discharge C3. The time constant of R7/C3 is much greater than for R4/C2.Depending on the desired output polarities for low and high input frequencies, either an ICL8211 or an ICL8212 can be used as the output driver.
Reprinted Url Of This Article:
http://www.seekic.com/circuit_diagram/Power_Supply_Circuit/Frequency_limit_detector.html
Print this Page | Comments | Reading(3)
Code: