Published:2009/7/16 20:56:00 Author:Jessie | From:SeekIC


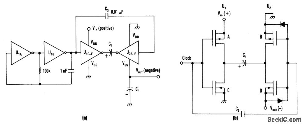
Using a charge pump and oscillator, this circuit uses a 7-kHz oscillator. When the clock is high, C and D are on, grounding the positive side of C1 and making negative voltage available at the VSS terminal of U2.With C= C1 + C2, the p-p output ripple is:
Converter output impedance is about 100Ω and maximum current is 10 mA dc.
Reprinted Url Of This Article:
http://www.seekic.com/circuit_diagram/Power_Supply_Circuit/GELECTRONIC_DESIGN.html
Print this Page | Comments | Reading(3)
Code: