Published:2009/6/24 2:38:00 Author:May | From:SeekIC

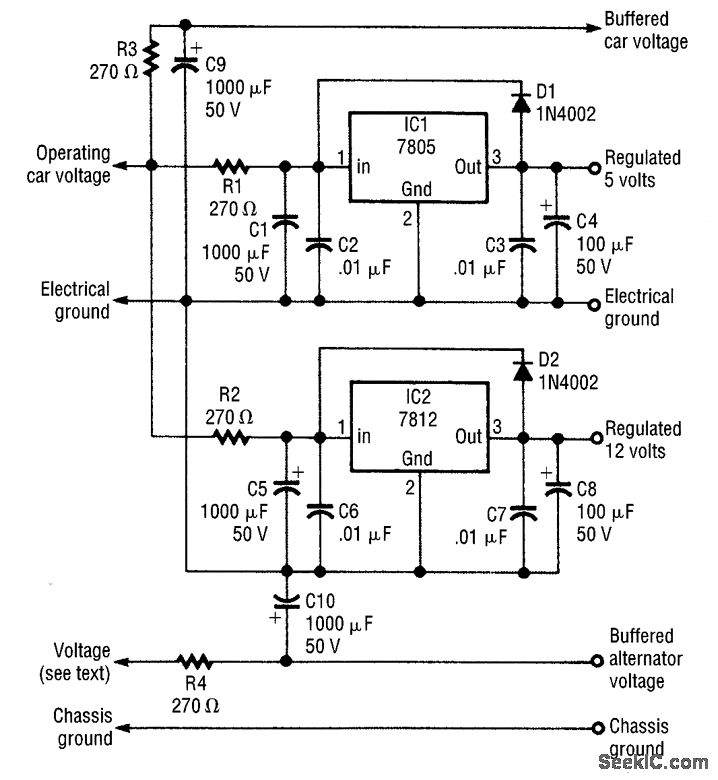
This supply produces 12 V and 5 V for a variety of automotive projects. F4 is connected directly to the alternator field winding (usable only if your car has a separate regulator).
Reprinted Url Of This Article:
http://www.seekic.com/circuit_diagram/Power_Supply_Circuit/GENERAL_PURPOSE_POWER_SUPPLY_FOR_AUTOMOTIVE_PROJECTS.html
Print this Page | Comments | Reading(3)
Code: