Published:2009/7/9 3:03:00 Author:May | From:SeekIC


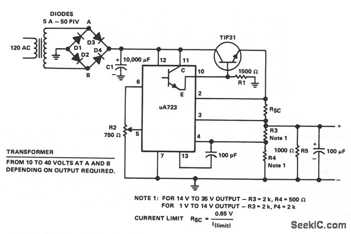
The supply 6-66 can be used for supply output voltages from 1 to 35 V. The line transformer should be selected to give about 1.4 times the desired output voltage from the positive side of ftlter capacitor C1 to ground. Potentiometer R2 sets the output voltage to the desired value by adjusting the referince input.RSC is the current limit set resistor. Its value is calculated as:For example,if the maxlmum current output is to be 1 A,RSC=0.65/1.0=0.65Ω.The 1-KΩ resistor,RS,is a light-loaded resistor designed to improve the no-load stability of the supply.
Reprinted Url Of This Article:
http://www.seekic.com/circuit_diagram/Power_Supply_Circuit/General_Purpose_Power_Supply.html
Print this Page | Comments | Reading(3)
Code: